Document Reveals How Dodge’s Fratzonic Chambered Exhaust Will Make Its EVs Shake, Rattle And Roar


The Fratz’s out of the bag!
A patent application uncovered by AmericanCarsAndRacing.com describes the inner workings of Dodge’s Fratzonic Chambered Exhaust, which was developed to make its futuristic electric muscle cars seem old school.
Dodge has not responded to a request for comment on the filing to protect its “battery electric vehicle active sound and vibration enhancement systems.”
The brand’s upcoming high performance production EVs, previewed by the Charger Daytona SRT concept, will be equipped with several features that are meant to replicate the experience of driving a vehicle with an internal combustion engine.

Along with an “eRupt” faux transmission that simulates gearshifts, which aren’t required in an EV, the Fratzonic Chambered Exhaust is engineered to create a loud “exhaust” sound and much more.
Dodge has demonstrated the exhaust at several public events, but hasn’t gone into a lot of detail about its inner workings.
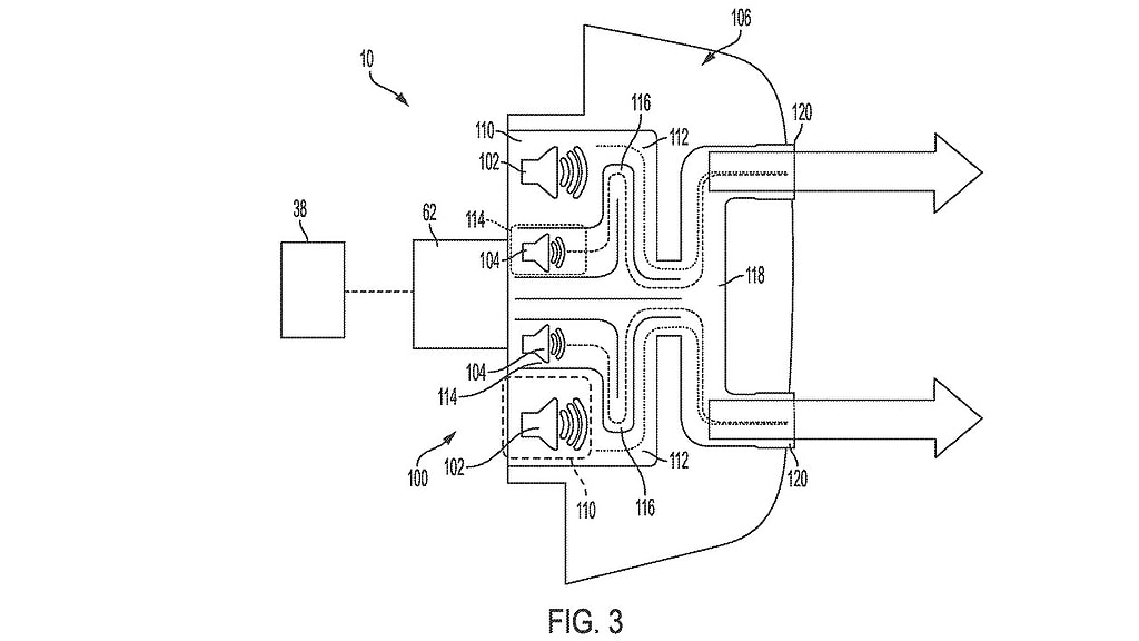
According to the application, the system combines vibration and sound enhancement technology to deliver a groovy “vibroacousitc” sensation to the passengers.

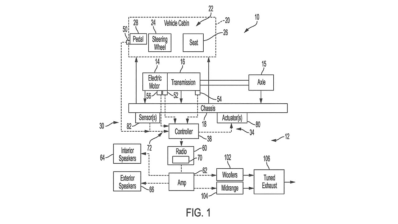
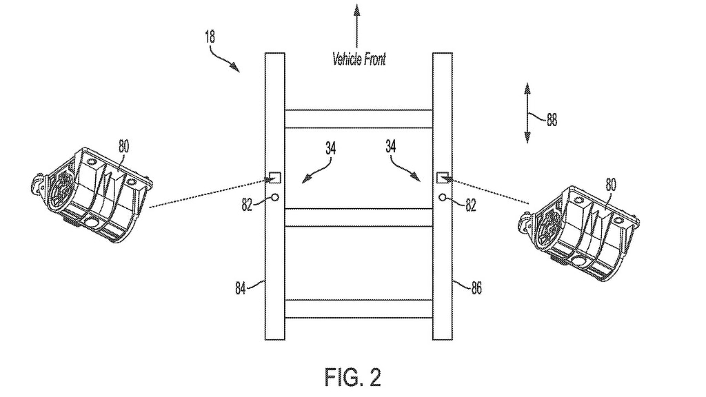
Along with internal and external speakers, its key element is a device mounted below the rear bumper that uses woofers and midrange speakers to pump sound through a series of mixing chambers and out a set of dual “exhaust” pipes.

“Advantageously, the system utilizes digital sounds with some basic filtering, but uses the tuned exhaust assembly to fine tune the sound in the acoustic domain instead of the digital domain, which creates a more authentic sound,” the filing explains.

But what makes it a fully immersive experience is a set of “force generators” that are connected to the chassis to send vibrations through the car in sync with the exhaust, the operation of the powertrain and vehicle speed.
It says the intensity of the vibrations can be directed via modulation to different areas of the car, including the steering wheel and seats, and that the force generators also produce their own sounds.

The effect can be tweaked to emulate a variety of engines and adjusted to match different drive modes. It also doubles as a pedestrian alert and Dodge CEO Tim Kuniskis has said the maximum volume will be 126 decibels, which is as loud as a supercharged Hellcat V8.
DODGE SHOWS OFF HURRICANE STRAIGHT-SIX CHALLENGER
If you want one of those engines next year, you’ll have to buy a Dodge Durango SRT Hellcat SUV, because the Challenger and Charger Hellcat models, along with the Ram 1500 TRX, are going out of production at the end of 2023.
Dodge hasn’t confirmed when its electric cars will go on sale, but it sounds like you’ll definitely hear them coming when they do.
