Hot: Ford Patents Wild 4-Wheel Burnout System

Smoke ’em if you’ve got ’em. All of ’em.
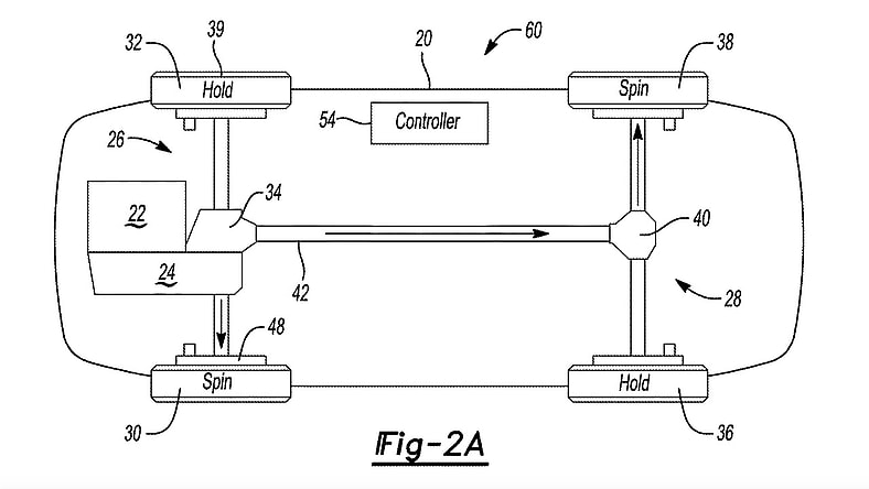
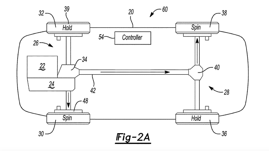
Ford has received a patent covering a variety of ways to perform burnouts with all-wheel-drive vehicles.
The “line lock” feature is ostensibly for warming up tires before a drag racing, but can also be used to put on a smoke show.
The rear-wheel-drive Mustang is currently equipped with such a system that applies just the front brakes while allowing the rear tires to spin as the vehicle is held in place. The new patent describes how this can be achieved in an all-wheel-drive car, by spinning one or two tires.
2024 FORD MUSTANG BUYERS JUST GOTTA HAVE THAT V8

Earlier this year, Ford filed for a patent on a similar feature for electric cars that would allow them to perform burnouts with either the front two tires or the rear two tires, but this one expands on that. It covers electric and internal combustion engine vehicles, with both direct drive and differentials, and isn’t limited to front or rear burnouts.

The description explains that the system could be used to spin two wheels diagonally opposite each other, two on the same side of the vehicle or any single wheel.

It’s not clear why either of those methods would need to be used in the tire-warming scenario, but they sure would look cool.
THE FORD MUSTANG MACH-E RALLY IS AN ELECTRIC SUBARU WRX KILLER:
CLICK HERE TO SUBSCRIBE TO THE AMERICAN CARS AND RACING YOUTUBE CHANNEL
It goes through the control methods that would allow this through brake and throttle pedal application, and even says the car could be programmed to do it without any driver input.
MORE AUTOMOTIVE INNOVATION NEWS FROM AMERICAN CARS AND RACING
Ford hasn’t announced plans to offer the feature on a production car, but considering line lock has become a staple feature on the Mustang, there’s a good chance it could appear on a future model.
