Slide It In: Ford Designed An Extendable Pickup Bed Platform


It looks like a smooth operator.
Ford has filed a patent application for a device to make loading and unloading pickups easier.
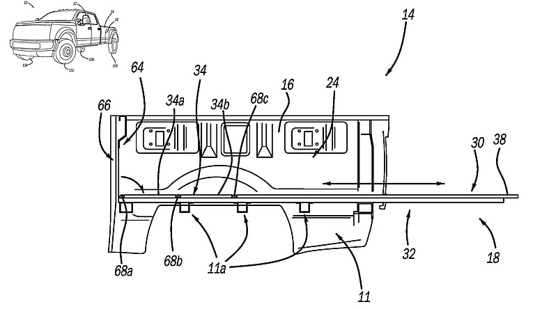
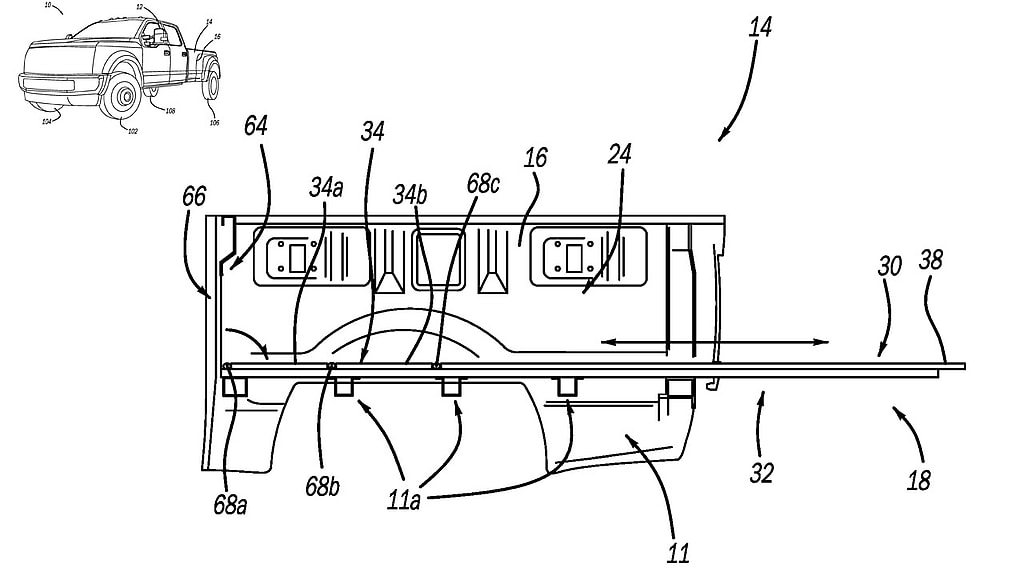
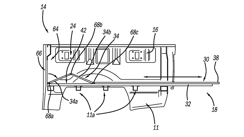
The Platform Assembly For Vehicle that was filed last year and published on December 21, describes a moveable floor that can be pulled out beyond the length of the pickup bed.
The platform is attached to rails and features an accordion section near the cab that folds down to cover what would otherwise be a gap as the floor is extended.
PATENT REVEALS FORD’S AUTONOMOUS VEHICLES COULD BE CLEAN MACHINES

The main idea is to offer an easier reach to items stored near the front of the bed.
CLICK HERE TO SUBSCRIBE TO THE FREE AMERICAN CARS AND RACING NEWSLETTER
The application also notes that it could be applied to SUVs and minivans. Sliding floors for various trucks and SUVs currently exist, but the gap cover is one of the aspect that sets Ford’s design apart.

Ford hasn’t announced any plans to offer this feature on a production vehicle, but it always tries to stay ahead of the competition in the pickup bed game.

It’s latest introduction is the Pro Access Tailgate that’s offered on the 2024 Ford F-150, which includes a central swing-out door in the tailgate.

It’s meant to allow for easier entry into the bed when a trailer is attached and a shorter reach to things stored inside than a a traditional open tailgate provides.
THE 2024 FORD F-150 RAPTOR IS THE MOST POWERFUL V8 PICKUP EVER
