Ford Designed A Removable Center Console With Pop-Out Tables And It Could Be For The Mustang Mach-E

Future Fords might let you arrange the furniture.
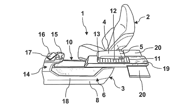
A new patent application from the automaker reveals a new center console design that allows for several configurations.
It features a large storage “trough” between the front seats that can be filled with a console bin that has a roll top door on it.
Armrests connected to the seat backs hover above it.
FORD MUSTANG GT NOW AVAILABLE WITH 800 HP FOR $53,545

The entire top of the insert can also slide rearward to expose the bin and encroach on the rear seating compartment. In this position, two lateral tables can be extended from either side of the top for use by the rear seat passengers.
2024 FORD MUSTANG NOW AVAILABLE WITH $5,995 MATTE WRAP

As with many patent applications, there is no guarantee that this design will find its way into a production vehicle. It does, however, look similar to the one that’s currently in the Mustang Mach-E, which features a floating armrest above a stationary bin with a roll-top door.
SECRET MODIFIED FORD F-150 LIGHTNING TO RACE UP PIKES PEAK

The Mach-E has been on sale since 2021 and could be due for an interior update soon, but there is another vehicle on the way that the console could be meant for.
THE 2024 FORD MUSTANG MACH-E RALLY IS AN ELECTRIC SUBARU WRX-KILLER
Ford is working on a three-row electric utility vehicle that Ford CEO Jim Farley has called a “personal bullet train.”
IS THE ‘LIGHTSTREAM’ FORD’S ELECTRIC BULLET TRAIN SUV?
Rear seat tray tables definitely seem to fit the bill for such a model, which is being designed to be extremely aerodynamic so that it can provide 300 miles of real highway range with a relatively small battery pack.
CLICK HERE TO SUBSCRIBE TO THE FREE AMERICAN CARS AND RACING NEWSLETTER
