Patent Reveals Electric Jeeps, Rams And Dodges Could Get A 3-Speed Transmission — Here’s Why

Stellantis’ electric vehicle plans are about to shift into gear.
The first Jeep, Ram and Dodge EVs will be hitting showrooms in the coming months packed with power, but a new patent reveals that future models might get even more out of their motors.
Most electric vehicles rely on a single gear ratio to drive the wheels and maximum torque is available as soon as you hit the go pedal.
That’s great for acceleration and towing and the motors are still capable of driving the vehicles to tremendous speeds.
Read Also: HERE’S WHY THE ELECTRIC DODGE CHARGER DAYTONA IS MORE IMPRESSIVE THAN A CHALLENGER SRT HELLCAT

The Lucid Air Sapphire can hit 205 mph, for instance, and the Pininfarina Battista has been clocked at 258 mph. Their efficiency also makes even the best internal combustion engine vehicle’s overdrive gear look wasteful, but things could technically be better.
MODERN MUSCLE CAR SHOWDOWN: DODGE CHARGER DAYTONA V FORD MUSTANG MACH-E
Even though you get all that torque immediately, an electric motor still has a torque curve and it starts to taper off as motor speed rises, so adding an extra gear or more could improve performance. The original Tesla Roadster had a two-speed transmission, but it was troublesome and the company got rid of it to keep things simple. Fewer parts means fewer things can go wrong.
Read Also: HERE’S WHAT IT’S LIKE TO DRIVE NASCAR’S ELECTRIC RACE CAR
Other automakers have followed suit, although the Porsche Taycan and Audi e-tron GT that share a platform do utilize at two-speed setup that offers a low gear for acceleration and a high gear for cruising. Stellantis takes that to the next level with a three-speed device that features four clutches and doubles as a locking differential.

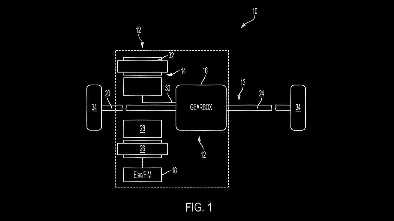
“A three-speed gearbox assembly for an electric drive vehicle includes three planetary gear sets. A first clutch selectively couples the electric motor output to a second portion of the first planetary gear set, a second clutch selectively grounds the second portion of the first planetary gear set, and a third clutch selectively grounds a portion of the third planetary gear set. A fourth clutch is selectively engaged to lock first and second axle shafts to provide a locked differential function,” is how it describes the design and it continues to explain the need for it exactly as one would expect.
CLICK TO FOLLOW AMERICAN CARS AND RACING ON GOOGLE NEWS
“Electric vehicles typically have single speed gearboxes, which while providing great torque capability, are unable to provide sustained high torque or various other speeds. Such gearboxes may provide sustained high torque through higher ratio gearing, but this is not ideal for meeting range and performance requirements for on-road usage. Moreover, such gearboxes often have relatively complex gearing arrangements and increased packaging constraints. Accordingly, while such gearing systems work well for their intended purpose, there is a desire for improvement in the relevant art,” the background section says.
MORE FROM THE AMERICAN CARS AND RACING YOUTUBE CHANNEL
The Dodge Charger Daytona Scat Pack launching this year can accelerate to 60 mph in 3.3 seconds, but its top speed is just 134 mph and its efficiency should be equivalent to around 93 mpg, while other EVs are well into the triple digits. Multiple gears could potentially improve all of those performance specifications.
A Jeep designed for low-speed rock crawling, like the upcoming Recon, that also needs to drive on the highway could also take advantage of additional ratios, as could a pickup like the Ram 1500 REV that needs to haul heavy things, but also cover long distances.
The patent also says that the gearbox could be used on hybrid vehicles and Ram is also launching the Ram 1500 Ramcharger next year. Unlike many hybrids that use a parallel setup where the electric motors and internal combustion engine drive the wheels through a common transmission as required, the Ramcharger is a series hybrid that is powered directly by the electric motors and only uses its V6 engine as a generator to provide electricity when the battery charge is low.
Read Also: 2027 JEEP COMPASS TEASED WITH ELECTRIC POWER

Stellantis has not suggested that any of its future models will feature multi-speed gearbox, but it hasn’t yet revealed any details about the next generation EVs that it is working on. One thing it has built is a Jeep Wrangler concept called the Magneto 2.0 that swapped the model’s internal combustion engine for an electric motor connected to a conventional six-speed manual transmission and 4×4 drivetrain, but it hasn’t announced any plans to put something like it into production … yet.
