Jeep Designed A License Plate Flipper — Here’s Why

Is the next James Bond getting a Jeep?
Stellantis has applied for a patent on a “Deployable Front License Plate Bracket” that looks like something from a spy car.
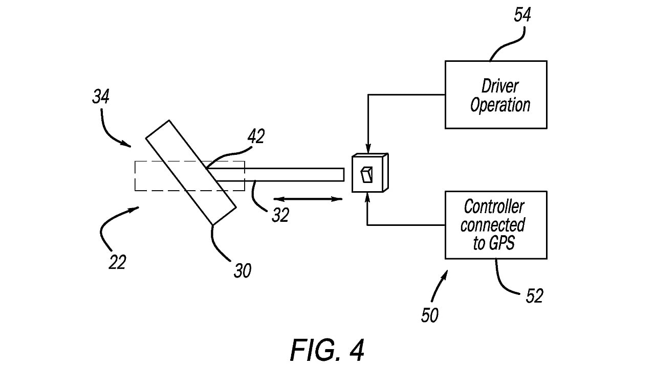
The feature mounts the bracket on a telescoping arm that can extend the plate away from the body, flip it to a horizontal position and retract it into a slot in the front fascia.
The patent sketches accompanying the filing depict the feature on a Jeep SUV.

While it seems like the sort of shady accessory that is sold on the dark corners of the internet to help avoid paying tolls via license plate scanning systems, there’s actually a useful reason for it that’s meant to help drivers stay legal.
CLICK TO SUBSCRIBE TO THE FREE AMERICAN CARS AND RACING NEWSLETTER
The patent describes the various cooling systems that rely on openings in the front today’s vehicles, which often also house multiple sensor arrays. Throw in bumpers, lights and styling requirements and the available space is at a premium.

Front license plates often block some of the airflow and even a small amount can hurt cooling in a major way. You often see this in auto racing where a small piece of debris gets caught on a grill and the engine quickly overheats.
Read Also: JEEP REINVENTED THE WINCH FOR ELECTRIC SUVS
The issue is that more than half of U.S. states require front license plates, as do many jurisdictions around the world. Comity laws allow Americans registered in no-plate states to drive through states that require them, but locals have to deal.

While the blockage isn’t usually an issue in normal driving, if the vehicle is being used in an extreme fashion on a hot day, like off-roading a Jeep in the summer time, it can be a problem. Towing can be even more of a challenge. For instance, if you’re on a road trip with a trailer from Kansas, which requires front license plates, through the mountains of Colorado, which doesn’t and and has thinner air, every gulp of air helps. The patent notes that the system could be linked to a GPS tracker that would automatically engage it where allowed.
Read Also: JEEP DESIGNED A FRONT BUMPER BENCH SEAT FOR THE WRANGLER AND GLADIATOR
As with all patent applications, there are no guarantees this feature will ever be put onto a production vehicle and Stellantis hasn’t indicated it has any plans to do that, but there’s nothing stopping Q from stealing the plans for 007s next ride.
