Dodge’s Fratzonic Chambered Exhaust Finally Gets Its Patent

One of the most interesting automotive technologies of the past few years is the Fratzonic Chambered Exhaust system that Dodge developed for its electric muscle cars.
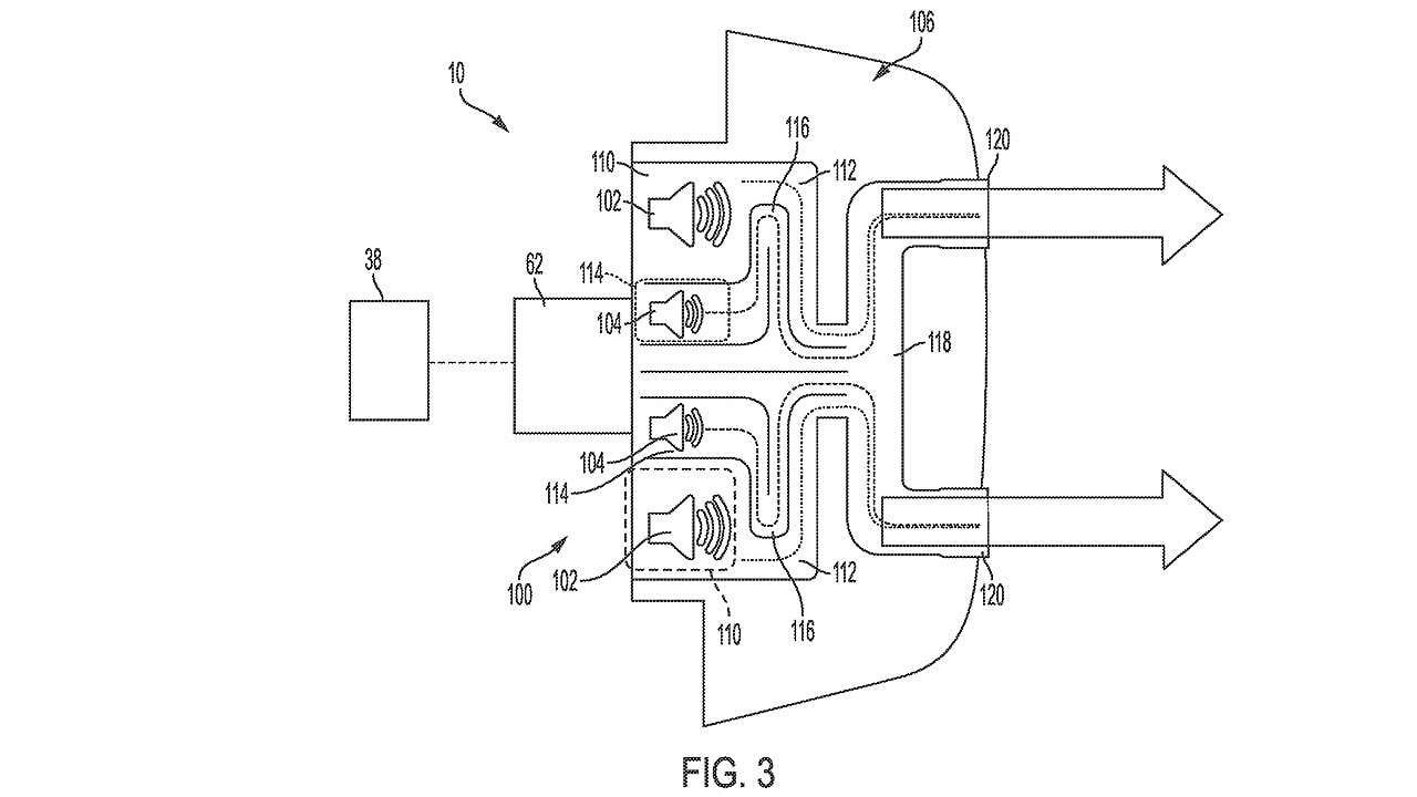
The feature pumps amplified synthetic engine noises through sound tubes that exit from under the rear bumper as actuators, mounted to the chassis, vibrate the vehicle in concert with the sound to create a “vibroacoustic experience” that’s meant to emulate a car powered by a rumbling V8.
The jury is still out as to whether or not it was worth the effort, but American Cars And Racing found it to be very entertaining when we tested the Charger Daytona Scat Pack.
Unfortunately, the market hasn’t been to kind to the Charger Daytona and Dodge has already cut one model due to low demand as it gets ready to launch the new internal combustion engine-powered version of the Charger, which has a 3.0-liter turbocharged straight-six that makes its own exhaust sound.

Nevertheless, Dodge filed an application for a patent on the “Battery Electric Vehicle Active Sound and Vibration Enhancement Systems” on November 7, 2022, and it has finally been granted.
CLICK HERE TO SUBSCRIBE TO THE FREE AMERICAN CARS AND RACING NEWSLETTER FOR THE LATEST
Patent number US 12,377,782 B2 was published on August 5 and now formally protects the tech, even as other automakers try their own ways of bringing some sound and fury to their otherwise quiet electric sports cars.
Read Also: 4-DOOR DODGE DAYTONA SCAT PACK REVEALED
Dodge won’t likely be applying it to other models anytime soon as it and its sister brands Ram and Jeep have tapped the brakes on their electric vehicle plans, although each has several electrified models in the works.
